“孔区长,你政府部门在港航智慧教育游戏平台下再有一件危险待合拢,请请不久全面落实。”“好的,危险已合拢已完成,不久在游戏平台下传的信息,请安排的人员核验”。
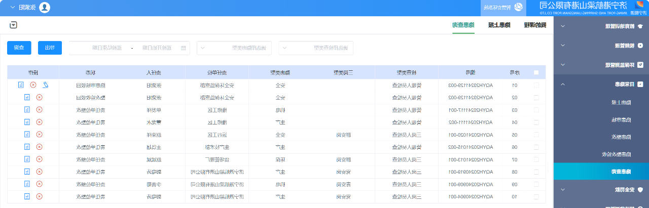
进期,梁山港在卫生產量上再发新招,策划 落实了处理的工作工作师“辨安全可靠卫生卫生危险因素、查危险因素点”活跃组织。该活跃组织借助于港航聪慧的平台危险因素点处理功能,向干部班子的人、卫生產量岗位职责部室员级上面的处理的工作工作师派发工作方案做完条件,必须其深化基层当场、深化基层前线,详细安全可靠卫生检查产量设计具备的卫生安全可靠卫生卫生危险因素、危险因素点的问题,养成了由“处理的工作工作师提报-岗位职责部室申核-责任心组织自查-卫生员检收”的闭环控制处理工艺流程。不仅而且,梁山港还去创新使用了做完条件波动考评规则,对月初未做完做完条件的的工作工作师,除按体系必须做追究责任外,还将在下月度总结扩大本人及位于组织负责任人的做完条件。“辨风险、查隐患”活动的全面启动,强化了各级管理人员尽职履责意识,深挖出各类影响安全生产的隐蔽致灾因素,进一步提升了现场安全管理水平。
文/图|张紫阳 (防护坏保监督检查部)